Zębtaki narrow-wide. Jaka jest ich prawdziwa historia ;-)
Data dodania: 11-12-2025
Wydawało by się iż SRAM jest wynalazcą tych zębatek. Prawda jest trochę inna 😊
Ale po kolei…
Rozwiązanie
Zastosowanie w Przemyśle
W procesach SRAM próbował udowodnić iż narrow to ich pomysł. Lecz sądy nie dawały wiary. Patent Gehl w takim stopniu przypomina rozwiązanie SRAM’a iż sądy odrzucały roszczenia i pozwalały wykorzystywać pomysł innym producentom.
https://sklep.token-polska.pl/korby-aerozine-c-252.html
Przejdź do strony głównej Wróć do kategorii 6) Inne
Zębatki narrow-wide. O co chodzi ? Jaka jest ich historia? Czy SRAM był pierwszy? Dlaczego inni producenci nie musza się przejmować ich patentem ? - przedstawiam Wam prawdziwą historię tego wynalazku :-)
-
Zębtaki narrow-wide (wąsko-szerokie) pojawiły się na rynku chyba około 2010 roku, wraz z gwałtownym rozwojem popularności układów jednobiegowych (1x). Producenci komponentów, szukając rozwiązania problemów związanych z spadającymi łańcuchem w terenie, zaproponowali innowacyjny design oparty na naprzemiennym rozmieszczeniu zębów o różnych rozmiarach.
-
Technologia opiera się na prostej, ale genialnej idei: zęby są rozmieszczone naprzemiennie — wąskie i szerokie — w proporcji odpowiadającej wewnętrznym i zewnętrznym ogniwom łańcucha. Wąskie zęby chwytają wewnętrzne ogniwa, szerokie zaś zewnętrzne.
-
Zębtaki narrow-wide są standardem w rowerach górskich (MTB hardtail i full suspension), szczególnie w dyscyplinach wymagających jazdy w terenie. Równie popularne stały się w rowerach gravelowych, gdzie minimalistyczne podejście do napędu zwiększa uniwersalność.

Wydawało by się iż SRAM jest wynalazcą tych zębatek. Prawda jest trochę inna 😊
SRAM X-Sync (ok. 2012 r.) — SRAM wprowadził zębtaki narrow-wide na rynek jako X-Sync około 2012 roku. Technologia została opracowana przez zespół inżynierów w Schweinfurcie w Niemczech. To była pierwsza komercyjna implementacja narrow-wide dla rowerów górskich. Jednak wielu innych producentów napędów miało już na oku to rozwiązanie.
SRAM opatentował swój pomysł i włóczył po sądach producentów takich jak RaceFace, Wolf Tooth, Praxis Works. Jednak nie udało się gigantowi przywłaszczyć tegoż rozwiązania. Sądy oddalały pretensje SRAM. Dlaczego ?
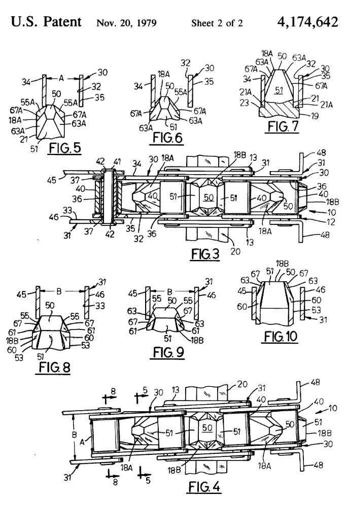
Otóż znacznie wcześniej bo w 1978 roku firma Gehl Company (Wisconsin, USA) opatentowała (patent nr 4174642) do swoich maszyn rolniczych napęd łańcuchowy który był podobny do dzisiejszych zębatek. Nie wyglądało to dokładnie tak samo gdyż pomysł wykorzystywał jakieś sprężyny która miała następujące cechy:
Sprężyna miała parzystą liczbę zębów
Każdy drugi ząb był szeroki, każdy drugi wąski
Zęby były stożkowate (tapered), aby ułatwić zaangażowanie łańcucha
Łańcuch posiadał odpowiadające mu naprzemienne szerokie i wąskie otwarcia między ogniwami
Patent ten już wygasł i był dostępny dla innych przez co pomysł zaczął być wykorzystywany w innych zastosowaniach.

Ale po kolei…
Informacje Ogólne o Patencie:
Numer patentu: US 4174642
Nazwa: "Chain Drive Including Sprocket Having Alternate Wide And Narrow Teeth"
Producent: Gehl Company (Wisconsin, USA)
Data złożenia wniosku: 9 lutego 1978
Data publikacji: 20 listopada 1979
Status: Patent wygasł (już dostępny w domenie publicznej)
Co to Była Firma Gehl?
Gehl Company to producent maszyn budowlanych i rolniczych z siedzibą w Wisconsin. Specjalizowała się w urządzeniach do transportu, załadunku i przetwarzania materiałów — urządzenia te stanowiły rdzeń ich biznesu. Nikdy nie była producenta komponentów rowerowych.
Treść Patentu
Cel Wynalazku
Patent opisywał rozwiązanie problemu w napędach łańcuchowych stosowanych w maszynach budowlanych i rolniczych. Problem polegał na tym, że podczas pracy łańcuch mógł być przesunięty w stosunku do płaszczyzny sprężyny, co prowadziło do:
-
Rozplecenia się łańcucha ze sprężyny
-
Urwania łańcucha
-
Zwiększonego zużycia
Rozwiązanie
Wynalazek wykorzystywał sprężynę (gear) z naprzemiennymi szerokimi i wąskimi zębami, połączoną z łańcuchem posiadającym naprzemiennie szerokie i wąskie ogniwa.
Główne cechy:
-
Sprężyna miała parzystą liczbę zębów
-
Każdy drugi ząb był szeroki, każdy drugi wąski
-
Zęby były stożkowate (tapered), aby ułatwić zaangażowanie łańcucha
-
Łańcuch posiadał odpowiadające mu naprzemienne szerokie i wąskie otwarcia między ogniwami
Praktyczne Korzyści (wg. patentu)
-
Eliminacja zsuwania się łańcucha ze sprężyny
-
Zmniejszenie ryzyka urwania łańcucha
-
Zmniejszenie zużycia zarówno łańcucha, jak i zębów sprężyny
-
Zmniejszenie hałasu podczas pracy
-
Możliwość ekonomicznego wytworzenia (odlewanie, kucie, obróbka)
Zastosowanie w Przemyśle
Patent zastosowano w maszynach budowlanych i rolniczych, szczególnie w:
-
Urządzeniach transportujących materiały sypkie
-
Koparkach i wyposażeniu do kopania
-
Rolniczych maszynach załadowczych
W procesach SRAM próbował udowodnić iż narrow to ich pomysł. Lecz sądy nie dawały wiary. Patent Gehl w takim stopniu przypomina rozwiązanie SRAM’a iż sądy odrzucały roszczenia i pozwalały wykorzystywać pomysł innym producentom.
SRAM się nie poddawał i coraz bardziej wymyślał składając liczne wnioski patentowe, ale jego patenty dotyczyły konkretnej kombinacji cech: naprzemiennych zębów + przesunięcia do wewnątrz (inboard offset). Nie mogły jednak zablokować wykorzytanie technologii narro wide przez innych producentów.
I bardzo dobrze, że tak się stało. W innym przypadku skazani bylibyśmy tylko na produkty giganta. A tak mamy do dyspozycji bardzo wielu fajnych producentów zębatek. Praktycznie system narrow-wide króluje w napędach 1x. Spisuje się bardzo dobrze i nie zanoci się aby cos innego zastąpiło to niezawodne rozwiązanie.
A na naszych półkach znajdziecie wysokiej jakości zębatki narrow firmy AEROZINE.
https://sklep.token-polska.pl/korby-aerozine-c-252.html
Przejdź do strony głównej Wróć do kategorii 6) Inne



E-mail:
Telefon 
